製品一覧
FM300EX 防爆型露点トランスミッタ

FM300は規格パラメータの許可範囲内の工業応用中の露点トランスミッタ。
FM300は以下のデータを測れる:
• 工業気体の微水
• 工業気体の露点
測量単位の初期設置:温度℃、湿度%、露点°Ctd。他の単位は選択できるモニターかサービス パッケージで装置。
FM300防爆型が選択可能。
FM300露点トランスミッタは工業環境中の圧縮エアーシステム、手袋箱、塩化フッ化物硫
黄ガス。
パラメー
|
測量範囲 |
露点:-80~+20℃td 微水:2~99999PPMV |
|
測量精度 |
露点:±2℃Td |
|
圧力範囲 |
50bar |
|
測量気体 |
非強腐蝕性気体 |
|
環境温度 |
-30~70℃ |
|
気体流量 |
> 2 L/min (トランスミッタ通過) |
|
応答速度 |
T63<12s |
|
輸出信号 |
4~20mA |
|
工業接続 |
G 1/2” ねじ山 (ISO 228/1) |
|
供給電源 |
24V/DC |
|
保護レベル |
IP67(NEMA4) |
|
外ケース材料 |
316不锈钢 |
|
重複性 |
<0.5%RH ;<0.1℃ |
|
EMC |
EMC 執行04/108/EG |
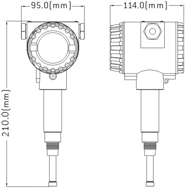
変送器寸法
相談SIDPHセールスエンジニア


